调整列表页展示
1 页大小
每页中显示多少条数据,默认为每页显示100条数据,属性如下:
list_per_page=100
1)打开booktest/admin.py文件,修改AreaAdmin类如下:
class BookInfoAdmin(admin.ModelAdmin):
list_per_page = 2
2)在浏览器中查看区域信息的列表页面,效果如下图:

2 "操作选项"的位置
顶部显示的属性,设置为True在顶部显示,设置为False不在顶部显示,默认为True。
actions_on_top=True
底部显示的属性,设置为True在底部显示,设置为False不在底部显示,默认为False。
actions_on_bottom=False
1)打开booktest/admin.py文件,修改BookInfoAdmin类如下:
class BookInfoAdmin(admin.ModelAdmin):
...
actions_on_top = True
actions_on_bottom = True
2)在浏览器中刷新效果如下图:

3 列表中的列
属性如下:
list_display=[模型字段1,模型字段2,...]
1)打开booktest/admin.py文件,修改BookInfoAdmin类如下:
class BookInfoAdmin(admin.ModelAdmin):
...
list_display = ['id','btitle']
2)在浏览器中刷新效果如下图:

点击列头可以进行升序或降序排列。
4 将方法作为列
列可以是模型字段,还可以是模型方法,要求方法有返回值。
通过设置short_description属性,可以设置在admin站点中显示的列名。
1)打开booktest/models.py文件,修改BookInfo类如下:
class BookInfo(models.Model):
...
def pub_date(self):
return self.bpub_date.strftime('%Y年%m月%d日')
pub_date.short_description = '发布日期' # 设置方法字段在admin中显示的标题
2)打开booktest/admin.py文件,修改BookInfoAdmin类如下:
class BookInfoAdmin(admin.ModelAdmin):
...
list_display = ['id','atitle','pub_date']
3)在浏览器中刷新效果如下图:

方法列是不能排序的,如果需要排序需要为方法指定排序依据。
admin_order_field=模型类字段
1)打开booktest/models.py文件,修改BookInfo类如下:
class BookInfo(models.Model):
...
def pub_date(self):
return self.bpub_date.strftime('%Y年%m月%d日')
pub_date.short_description = '发布日期'
pub_date.admin_order_field = 'bpub_date'
2)在浏览器中刷新效果如下图:

5 关联对象
无法直接访问关联对象的属性或方法,可以在模型类中封装方法,访问关联对象的成员。
1)打开booktest/models.py文件,修改HeroInfo类如下:
class HeroInfo(models.Model):
...
def read(self):
return self.hbook.bread
read.short_description = '图书阅读量'
2)打开booktest/admin.py文件,修改HeroInfoAdmin类如下:
class HeroInfoAdmin(admin.ModelAdmin):
...
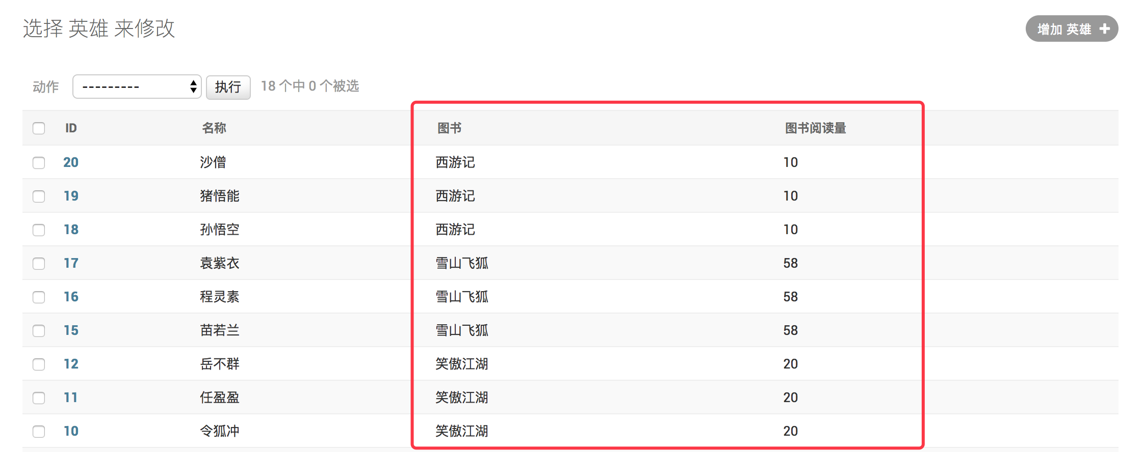
list_display = ['id', 'hname', 'hbook', 'read']
3)在浏览器中刷新效果如下图:

6 右侧栏过滤器
属性如下,只能接收字段,会将对应字段的值列出来,用于快速过滤。一般用于有重复值的字段。
list_filter=[]
1)打开booktest/admin.py文件,修改HeroInfoAdmin类如下:
class HeroInfoAdmin(admin.ModelAdmin):
...
list_filter = ['hbook', 'hgender']
2)在浏览器中刷新效果如下图:

7 搜索框
属性如下,用于对指定字段的值进行搜索,支持模糊查询。列表类型,表示在这些字段上进行搜索。
search_fields=[]
1)打开booktest/admin.py文件,修改HeroInfoAdmin类如下:
class HeroInfoAdmin(admin.ModelAdmin):
...
search_fields = ['hname']
2)在浏览器中刷新效果如下图:
